CARCAM QUADRO Lite – 4-канальный автомобильный видеорегистратор с возможностью подключения до 4 AHD камер высокого разрешения 720р. Запись ведется на 2 карты памяти SD до 128
4 HD канала
Видеорегистратор поддерживает одновременную запись видео и аудио с 4 каналов. Запись ведется в высоком разрешении 720p, что позволяет с легкостью рассмотреть все подробности происходящего в салоне транспортного средства.
Защита от потери данных
Специальная технология записи видео защищает от потери данных в случае экстренного отключения питания.
Пульт ДУ
В комплект КАРКАМ КВАДРО Lite входит специальный пульт дистанционного управления, который позволит вам удобно управлять всеми функциями системы видеофиксации.
Подключение монитора
CARCAM QUADRO Lite оснащен видеовыходом для подключения монитора, который позволит просматривать изображение с камер в режиме реального времени, а также воспроизводить архив записей не изымая карту памяти из устройства.
Контроль состояния, скорости и маршрута ТС
Контроль технического состояния транспортного средства с помощью подключаемых охранных датчиков, датчика зажигания, сигнализации, датчика работы тормозной системы, расхода топлива и тд.
Запись на SD карту памяти до 128 ГБ
Запись ведется последовательно на 2 SD карты памяти до 128
Хранение архива
| Разрешение | Битрейт, Мб/с | Запись на 16 ГБ, час | Запись на 32 ГБ, час |
Запись на 64 ГБ, час |
Запись на 128 ГБ, час |
Запись на 256 ГБ, час (при использовании 2х карт по 128 ГБ) |
|---|---|---|---|---|---|---|
| 1280x720p | 1,2 | 10,5 | 21,1 | 42,3 | 84,7 | 169,4 |
| 1280x720p | 0,6 | 21,1 | 42,3 | 84,6 | 169,3 | 338,6 |
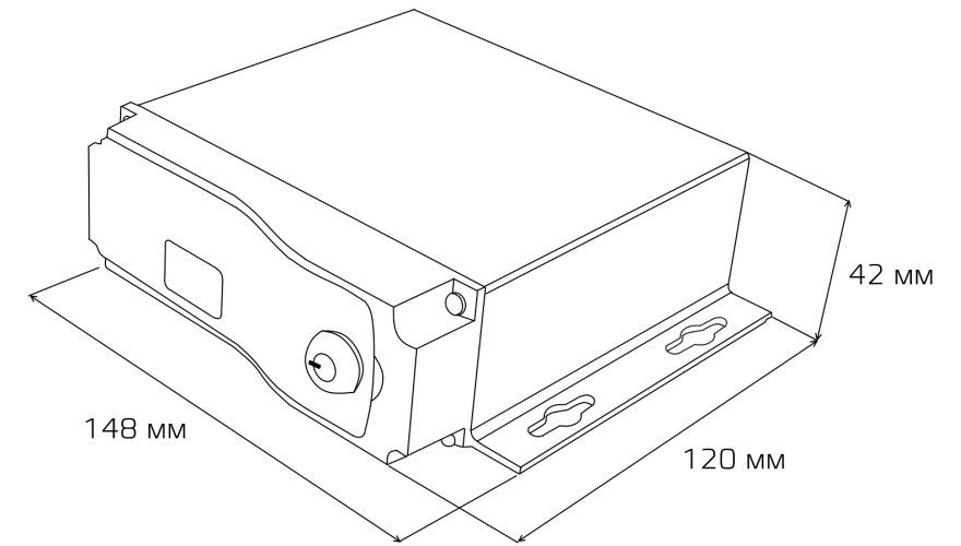
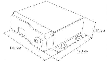
Компактность и надежность
Оборудование имеет компактные размеры и удобно в монтаже, так как разработано специально для установки в автобусах, такси, поездах, грузовиках, эвакуаторах, и другом пассажирском и грузовом транспорте. Корпус устройства со степенью защиты IP54 выполнен из металла и обладает защитой от несанкционированного доступа с персональным ключом.
|
Тип товара
|
Автомобильный видеорегистратор |
|
Бренд
|
CARCAM |
|
Формат видео
|
H.264 / MPEG-4 / AVC |
|
Битрейт
|
1 Мбит / с ~ 4 Мбит / с |
|
Максимальное разрешение
|
1280x720p |
|
Разрешение видеозаписи
|
1280×720p 25 кадр/с |
|
Датчик удара (G-сенсор)
|
Да |
|
Мобильное приложение
|
Да |
|
Микрофон
|
Опционально |
|
Питание
|
Вход: 10 - 36 В DC; Выход: 12 В DC |
|
Видеокодек
|
H.264, 8 уровней качества |
|
Автостарт записи при включении питания
|
Да |
|
Штамп на видео
|
Время, Координаты, Показания датчиков, Скорость |
|
Детектор движения
|
Да |
|
Тревожные выходы
|
CMS, Звуковой сигнал, Моб. приложение, Тревожный светодиод, Уведомление на E-mail |
|
Индикация
|
Индикатор питания, Состояния записи |
|
Поддерживаемые ОС
|
Linux |
|
Поддержка мобильных устройств
|
Android, iOS |
|
Потребляемая мощность
|
<2 Вт (без камер и диска) |
|
Видеовыходы
|
1 канал |
|
Место хранения записей
|
SD карта до 128 ГБ, 2 шт. |
|
Циклическая запись
|
Да |
|
Входы/Выходы
|
AV-IN, AV-OUT |
|
Время включения
|
20 сек (от подачи питания до начала записи) |
|
Комплект поставки
|
Видеорегистратор |
|
Функции
|
Синхронизация данных неограниченного количества транспортных средств с единым центром управления |
|
Степень защиты
|
IP54 |
|
Рабочая влажность
|
от 5% до 90% |
|
Рабочая температура
|
От -40 °C до +60 °C |
|
Вес изделия
|
400 г |
|
Габариты
|
112x36x138 мм |
Добавьте понравившийся товар в корзину. После этого перейдите в Корзину и нажмите на кнопку «Оформить заказ» или «Быстрый заказ»
Вы можете выбрать наиболее удобный для вас способ оплаты:
-
Наличными при самовывозе из фирменных магазинов Gigamart
-
Наличными курьеру при доставке курьерской службой Gigamart
-
Картой при самовывозе из фирменных магазинов или пункта выдачи заказов
-
Онлайн оплата через платёжные системы
Яндекс Касса,
СберPay,
T-Pay или по QR через
СБП
-
Оплата с рассрочкой или в кредит от
СберБанк,
Яндекс или
Тинькофф
При онлайн оплате вам потребуется заполнить специальную форму. Обязательно укажите: ваши имя и фамилию, электронный адрес и номер телефона.
Также вы можете получить ссылку на оплату по электронной почте или в СМС.
Более подробно о всех вариантах и условиях оплаты заказа вы можете узнать здесь.
Вы можете выбрать наиболее удобный для вас способ получения товара:
Курьерская доставка
-
Курьерская Яндекс Доставка
-
Курьерская доставка Gigamart
-
Курьерская доставка DPD
-
Курьерская доставка СДЕК
Самовывоз из пункта выдачи заказов
-
Самовывоз из пункта Яндекс
-
Самовывоз из магазина Gigamart
-
Самовывоз из пункта DPD
-
Самовывоз из пункта СДЕК
При доставке в пункт выдачи, вы сами выбираете на карте удобный для вас пункт и получаете номер для отслеживания посылки.
При поступлении заказа в пункт выдачи, вы дополнительно получаете СМС уведомление на указанный при оформлении номер телефона.
По согласованию возможны специальные условия доставки (ПЭК, Деловые линии).
Доставка осуществляется по всей территории России.
Более подробно о всех условиях и вариантах доставки вы можете узнать здесь.

